MX全球梦团队
  • 首页
  • 联系我们
  • 盈亏报表
  • 实投记录
  • 投注技巧
  • 实战视频
Select Page

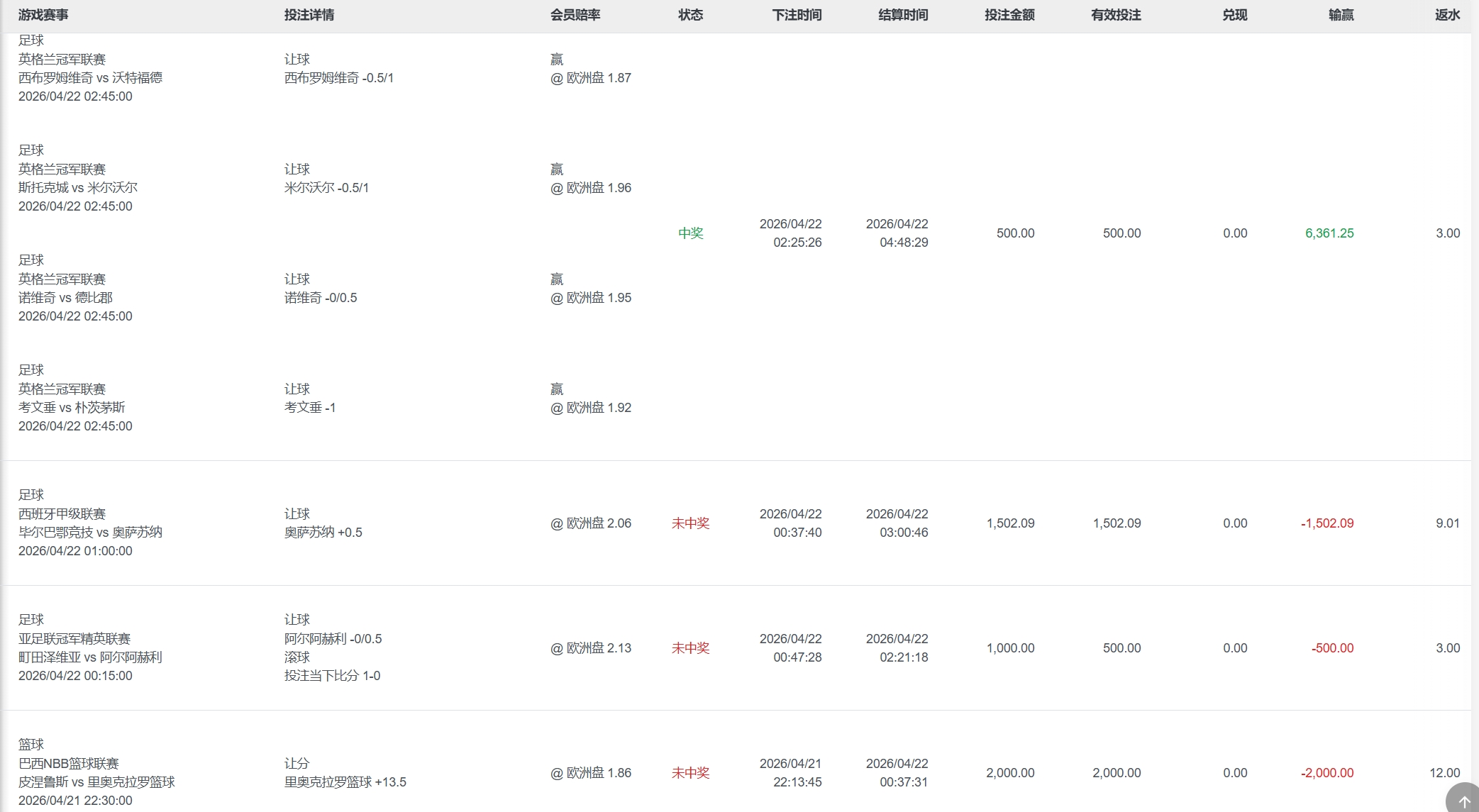
FB 体育 会員h****篮求 单日盈利2009

by MX全球梦团队 | 4 月 22, 2026 | 盈亏报表

近期文章

  • IM 体育 会員j****篮求 单日盈利4297
  • 开元棋牌 会員gg****极速百家 单日盈利2600
  • BTi 体育 会員h****LOL 单日盈利7777
  • FB 体育 会員h****篮求 单日盈利2160
  • FB 体育 会員h****足求 单日盈利5780

近期评论

尚無留言可供顯示。

每日实战投注记录

  • IM 体育 会員j****篮求 单日盈利42972026年5月11日
  • 开元棋牌 会員gg****极速百家 单日盈利26002026年5月9日
  • BTi 体育 会員h****LOL 单日盈利77772026年5月7日
  • FB 体育 会員h****篮求 单日盈利21602026年5月5日
  • FB 体育 会員h****足求 单日盈利57802026年4月29日


联盟旗会员实投记录

  • 熊猫体育 会員xxy****篮求 单日盈利23692026年4月12日
  • 恭喜老哥,终于肯退茶了。图下老哥茶叶没有顺利大额,没在退茶。真是不容易,希望2026年全部的家人们都能顺顺利利。心有所想都能成事2026年1月8日
  • 早安,兄弟门,每天起床目标2口茶给了。昨天喝酒,又搞大了。这个性天生的,改都改不了2026年1月7日
  • 恭喜旺哥退茶36000。昨天估计又是惊天动地。刺激2026年1月6日
  • 1月初的成绩单,开局的铁人三项都在水上。中间也有认输的时刻,得到了就不想在失去。这么多年反复多次从天堂又掉下来。现在唯一的目标,就是月底看见成绩单,铁人三项加总起来。不管金额大小都在水上,足己。2026年1月5日

实战盈亏报表分类

游戏种类

AG电子 AG百家乐 DB百家乐 FB体育 极速百家乐
MX全球梦团队(mtymx.com) - 做你最靠谱的上级
  • home icon 担保平台
  • plan icon 盈亏报表
  • VIP icon 实投记录
  • plan icon 博彩技巧
  • VIP icon 实战视频